行业动态

了解最新公司动态及行业资讯

土壤热脱附怎么减少尾气处理成本

2019-03-11 02:14:04 212 编辑:admin 来源:本站
    土壤热脱附作为一种非燃烧技术,污染物处理范围宽、设备可移动、修复后土壤可再利 用,特别是对含氯有机物,非氧化燃烧的处理方式可以避免二恶英的生成是经过直接加热 或间接加热,将污染土壤修复加热到足够的温度,使其所含的有机污染物得以挥发或分离的过 程,热脱附是将污染物从一相转化为另一相的物理分离过程,通过控制土壤热脱附系统的温度 和物料停留时间可以有选择性的使目标污染物挥发,目前所使用的热脱附装置采用直接加 热方式进行热脱附,但是热源气体与挥发出的污染气体相互混合,增大了后续尾气的处理 成本,而且系统能耗高且热利用率低,而且土壤含有水分较多,不能进行干燥处理,在进行 热脱附时,会耗费较大的热量用于蒸发水分,同时处理的效果也较差。 
土壤热脱附
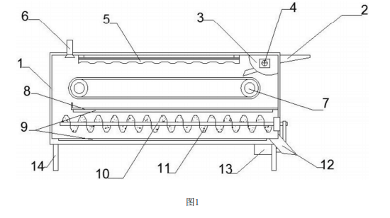
     一种节能型污染土壤热脱附装置,包括箱体、进料斗、粉碎箱、搅拌杆、干燥管、热风管、输送带、挡板、加热板、转轴、旋转叶、出料口、电机和支撑脚。本实用新型的有益效果是:搅拌杆将通过进料斗进入粉碎箱内的大颗粒土壤进行粉碎,将土壤粉碎成小颗粒,便于对土壤进行干燥和热脱附处理,干燥管对输送带上的土壤进行干燥预处理,先除去土壤中的绝大部分水分,能够在热脱附时节省较多热量,热风管上设有气体过滤装置,能够避免热脱附产生的有害气体散布到空气中,加热板分别设置在转轴的上下两侧对土壤进行加热,对土壤进行较全面的热脱附,提高土壤热脱附效率,电机通过皮带带动转轴进行转动,使热脱附处理过的土壤从出料口排出。

30

装备制造经验

立即免费获取土壤修复方案

为用户提供及时、高效、便捷的服务

在线咨询
尊龙凯时官网环境希望与你携手,共创美好未来...
5