行业动态

了解最新公司动态及行业资讯

异位淋洗土壤修复成套设备

2018-12-12 02:12:11 221 编辑:admin 来源:本站
    近20年,我国随着工业化、城市化、农村集约化进程的不断深化,土壤污染问题与 日俱增。土壤污染情况的日益恶化以及土壤不可再生的特性成为制约我国继续发展的一大 难题,解决土壤污染问题已经成为我国实现可持续发展的迫切需要。 目前土壤污染的常用处理方法如下 : 
    1 化学淋洗法 :将淋洗剂注入到污染土壤或沉积物中,洗脱和清洗土壤中的污染物的 过程。该技术具有操作灵活,修复效果稳定,周期短,效率高的优点,但是,该技术使用范围 有限,成本高且会造成二次污染。 
    2 生物法 :利用微生物降解作用对土壤污进行染修复,是生活中常见的一种修复 技术,该方法处理效果好,处理费用低,不会造成二次污染,但修复速率较慢,达到调控水平 需要相当长的时间。 
     3 热脱附 :加热土壤中有机污染组分到足够高的温度,使其蒸发并与土壤介质相 分离的过程。热脱附技术具有污染物处理范围宽、设备可移动、修复后土壤可再利用等优 点,但国内目前主要设备均依赖进口,导致设备投资成本高。 
土壤修复

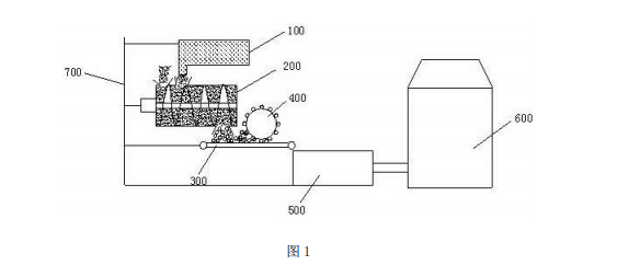
      一种异位淋洗土壤修复成套设备,属于污染场地修复技术领域。它解决了现有的淋洗设备普遍存在土壤质地适用性差、可修复污染物单一、淋洗设备系统庞杂、操作强度高、耗水量及排水量大等问题。本设备,包括依次设置的湿式筛分机构、螺旋分级机构、淋洗修复机构、废水处理机构及废水回收利用机构,污染土壤经由湿式筛分机构与螺旋分级及淋洗修复机构分离得出粗砾、细砾及清洁泥土形成土壤异位淋洗修复过程,本发明可适用于重金属和/或有机污染土壤的修复以及不同粒径级别土壤的异位淋洗修复,并且具有适用范围广、减量效果好、修复效果稳定、操作运行简便、耗水量小、废水回用率高等优点。

30

装备制造经验

立即免费获取土壤修复方案

为用户提供及时、高效、便捷的服务

在线咨询
尊龙凯时官网环境希望与你携手,共创美好未来...
5